Сетевой фильтр своими руками
Схема простейшего фильтра состоит из выключателя и варистора, вот как она выглядит:

V1 – это и есть варистор, его маркировка «471», значит, что его напряжение срабатывания 470В, при этом чем больше его диаметр, тем большую энергию он сможет погасить не взорвавшись при этом. Таким образом, чем больших размеров варистор вы поставите, тем лучше, лишь бы он влез по габаритам. Вот пример сетевого фильтра, собранного по этой схеме, но в заводском исполнении. Это дешевый прибор, который гасит лишь импульсы высокого напряжения. При этом он может безвозвратно выйти из строя при особо сильном всплеске.

Чтобы ваш сетевой фильтр еще и действительно был фильтром помех, необходимо добавить еще один фильтрующий элемент – дроссель.

Схемы – это, конечно, хорошо, но как сделать сетевой фильтр из подручных средств? Достаточно просто! Почти всегда у любителя что-нибудь мастерить, можно найти старый ненужный или нерабочий блок питания, в нём есть такой фильтр на входе. Осталось только его выпаять. На фото он стоит в ближнем к нам углу платы. Эта деталь представляет собой ферритовый сердечник и медную лакированную проволоку, намотанную вокруг него.

Это дроссель с двумя обмотками, через одну из них проходит фаза, а через другую ноль, таким образом индуктивность входит в состав сетевого фильтра и снижает уровень помех.

Кстати блок питания может работать и без него, многие китайцы так и делают свои товары, часто это встречается в дешевых БП для компьютера и не только. Из-за этого в сети и возникает такое большое количество нежелательных помех.
Если вы не нашли такого элемента в своих запасах – можно поискать ферритовое колечко с магнитной проницаемостью 400-2000 НМ и обмотать медной лакированной проволокой ПЭВ-2 (можно использовать первичную обмотку с 50 Гц сетевого трансформатора) диметром от 0,5 мм, это зависит от мощности нагрузки, которую вы хотите подключать. Намотать на колечко так, как показано на картинке, предварительно обмотав его несколькими слоями диэлектрика, например: изолентой, лакотканью, каптоновым скотчем.

Используйте провод с качественным, не поврежденным лаковым покрытием. А после намотки для надежности покройте деталь несколькими слоями лака. Петельку на конце нужно разрезать, в идеале – сразу мотать двумя параллельными проводами.
Хорошая схема, которую легко сделать своими руками выглядит следующим образом:

А вот конкретный вариант его реализации «в железе». За основы взята пара фильтров от БП.

Конденсаторы лучше применять керамические или пленочные. Их можно также достать из блока питания, они часто там встречаются возле сетевого разъема в прямоугольном корпусе в виде параллелепипеда.

Если есть ненужный БП можно просто отрезать часть платы с фильтром и использовать её. Вот пример на фото с указанием, что нужно отпилить для получения сетевого фильтра за пару минут. Только будьте осторожны и не перемкните металлическими опилками слои платы, это может привести к короткому замыканию. А готовое устройство обязательно поместите в токонепроводящий корпус для безопасности.

И вот еще один вариант схемы для повторения. Именно она и используется во множестве блоков питания стандарта ATX:

Сетевой фильтр – полезное и простое устройство, которое не сложно сделать самому в домашних условиях. А если учесть, что у многих есть несколько ненужных, неработоспособных приборов, то выходит, что запчасти буквально валяются у нас под ногами. Поэтому изготовление устройства, которое может продлить или даже спасти жизнь дорогостоящей аппаратуре, является очень выгодным занятием. Напоследок рекомендуем просмотреть несколько интересных видео-инструкций по сборке самодельного сетевого фильтра:
Материалы по теме:
Многофункциональные UPS
UPS защищает приборы не только при отключении, но и при снижении напряжения ниже допустимого порога посредством переключения на батареи. Периодические срабатывания сокращают срок службы аккумуляторов. Целесообразно перед бесперебойником дополнительно подключать стабилизатор напряжения. Для некоторых моделей в этом нет необходимости. Современный UPS может содержать встроенный фильтр или стабилизатор напряжения.
Напряжение модифицированной (прямоугольной) синусоиды корректно измерить обычным вольтметром невозможно. Показания будут значительно отличаться от фактических значений.
Промышленные и самодельные фильтры для трехпроводной системы питания
Среди серийно выпускаемых изделий имеются довольно полезные технические решения, на которые домашнему мастеру стоит обратить внимание
Краткий обзор полезных функций заводских моделей
Одной из популярных разработок, широко представленной в торговле, считается серия фильтров Pilot разных конструкций.
Принципиальная электрическая схема сетевого фильтра Пилот показана на картинке для облегчения понимания его возможностей.
Остановлюсь на задачах, которые призван решать Pilot XPro, специально созданный для комфортной работы, продления ресурса подключенных потребителей и снижения расхода электричества. Это:
- защита варисторами от импульсных перенапряжений;
- предотвращение действия высокочастотных помех индуктивно-емкостными сопротивлениями;
- управление электропитанием за счет введения функции Master Control;
- защита от перенапряжений, связанных с обрывом нуля;
- плавное отключение и включение оборудования под нагрузку функцией Zero Start за счет исключения бросков тока встроенной схемой;
- автоматика включения потребителей после устранения аварийного пропадания питания;
- два уровня защиты от токовых перегрузок или коротких замыканий за счет плавкого предохранителя и биметаллического расцепителя;
- индикация подключения к сети и уровня напряжения питания;
- контроль температуры и автоматическое отключение при перегреве.
Функция Master Control определяет одну розетку основной (как master-розетка). На нее подключают основной потребитель мощностью более 50ватт, например, системный блок компьютера.
При его включении автоматика одновременно запитывает три других розетки с периферийным оборудованием. Она же отключает их при снятии питания с основного блока.
На корпусе имеются розетки, не управляемые микропроцессорной автоматикой. Их используют для освещения, телефона, другого оборудования
Более подробные сведения об этом оборудовании можете узнать в коротком видеоролике владельца ZIS Company.
Устройство
Если говорить об устройстве такой вещи, как сетевой фильтр, то следует сказать, что он может относиться к одной из 2 категорий:
- стационарно-многоканальной;
- встроенной.
В целом схема обычного сетевого фильтра, рассчитанного на напряжение в 220 В, будет стандартной и в зависимости от типа устройства может лишь чуть-чуть отличаться.

Такие платы имеет и другая техника, что относится к категории сложных. Такие платы обычно состоят из следующих компонентов:
- конденсаторы добавочного типа;
- индукционные катушки;
- дроссель тороидального типа;
- варистор;
- предохранитель термического типа;
- VHF-конденсатор.

Варистором является резистор, что имеет переменное сопротивление. Если нормативный порог напряжения в 280 вольт превышается, то его сопротивление снижается. Причем оно может снизиться не в один десяток раз. Варистор по своей сути представляет предохранитель от импульсного перенапряжения. А стационарные модели обычно отличаются тем, что имеют несколько розеток. Благодаря этому появляется возможность подключить через сетевой фильтр к электрической сети несколько моделей электрической техники.
Советуем изучить Что такое коэффициент мощности

Кроме того, все сетевые фильтры оснащены LC-фильтрами. Такие решения применяются для аудиотехники
То есть такой фильтр – помехоподавляющий, что для аудио и работы с ним будет крайне важно. Также сетевые фильтры иногда оснащаются термическими предохранителями, что позволяют предотвратить появление скачков напряжения. Иногда в ряде моделей используются одноразовые предохранители плавкого типа
Иногда в ряде моделей используются одноразовые предохранители плавкого типа.

Сетевой фильтр — неисправности и ремонт
Здравствуйте! В этой статье рассмотрим ремонт сетевого фильтра своими руками. Он применяется для подключения к бытовой сети группы потребителей(компьютер, принтер, сканер, источник бесперебойного питания, телевизора и т.д.). Имеет обычно не менее шести розеток и встроенную защиту по перегрузке.
На фото ниже показан сетевой фильтр, который попал ко мне на ремонт.
Прежде чем приступить к его ремонту хочу немного рассказать о основных неисправностях сетевых фильтров.
В первую очередь сетевой фильтр-это силовой элемент в вашей домашней сети. То есть он воспринимает всю нагрузку, суммарно потребляемую всеми бытовым приборам, подключенные к нему. Это нужно помнить в первую очередь. К примеру если на сетевом фильтре написано 220 вольт 10 ампер, то это значит что к нему можно подключить только столько бытовой техники, которая в сумме потребляет не более 10 ампер(2,2 кВт).
Поэтому чтобы преждевременно не вывести сетевой фильтр из строя, следует строго придерживаться предписаний его производителя. Помню встречался с такими случаями, когда в сетовой фильтр подключали одновременно электроплитку, кипятильник и пылесос(суммарная нагрузка около 5 кВт!). На такую нагрузку он точно не рассчитан, при этом питающий провод сетевого фильтра начинал сильно греться и в итоге плавиться. Не делайте так, если не хотите устроить в квартире пожар!
Неисправности сетевого фильтра: -отгорание провода в вилке питания в результате плохого контакта при нагрузке -подгорание контактов выключателя сетевого фильтра -повреждение автоматического защитного термопредохранителя -перегорание дорожек на печатной плате сетевого фильтра
При включении шнура питания сетевого фильтра в сеть и включении выключателя светодиод индикации включения в сеть мигал и из выключателя слышился небольшой треск. Ну тут часто виноват сам выключатель питания сетевого фильтра. Для того чтобы его проверить и сделать заключение о его исправности или наоборот, необходимо разобрать корпус сетевого фильтра. По обычаю он состоит из двух половинок, соединенных между собой при помощи саморезов. На фото ниже я посторался показать их место расположение.
При внимательном осмотре саморезов выяснилось следующее: три самореза под крестовую отвертку, а три под плоскую. Все бы хорошо, да не совсем. Саморезы под плоскую отвертку, как оказалось, имеют хитрую конструкцию, которая позволяет их только закрутить. Они представляют собой подобие храповика под пусковую ручку для автомобилей.
Поэтому открутить их так просто не удалось. Но как говорится, нет безвыходных ситуаций. Особенно для тех, кто хорошо знает волшебные слова русского языка:)). Вот применяя их и вспоминая «добрым словом» изготовителей сего чуда саморезов и манипулируя простой плоской отверткой, их понемногу открутил. Для этого приходилось более сильнее прижимать отвертку к саморезу и создавать так называемое торцевое трение жала отвертки об хитрый саморез.
Рассоединяем две половинки корпуса сетевого фильтра и видим следующую картину
На ней видим сами шесть розеток с зануляющими шинками, термопредохранитель с кнопкой включения, плату сетевого фильтра. Нам необходимо добраться до выключателя питания. Для этого открутите два самореза крепления печатной платы.
Переворачиваем аккуратно плату и видим сам выключатель.
Нам необходимо его выпаять. На фото ниже я показал место пайки ножек выключателя сетевого фильтра.
Выпаиваем выключатель и кладем его на стол.
Ремонт выключателя сетевого фильтра выполняется в следующем порядке. Необходимо при помощи тонкой плоской отвертки вывести фиксатор кнопки из корпуса выключателя с двух сторон и вытащить сам верх кнопки.
На фото ниже видно, что под ней расположены подвижные контакты из пружинистой стали.
Запомните их расположение и снимите их.
Под ними в глубине вы увидите неподвижные контакты.
На обоих фото хорошо видно, что контакты сильно подгорели. Берем мелкую наждачную бумагу и аккуратно зачищаем подвижные контакты. Чтобы зачистить в глубине неподвижные контакты удобно использовать расплетенный на конце мотоциклетный тросик.
После того как все зачистили, устанавливаем подвижные контакты на место и ставим верхнюю часть выключателя до щелчка.
Впаиваем выключатель и собираем сетевой фильтр в обратном порядке.
Теперь вы знаете как отремонтировать сетевой фильтр своими руками. Пользуемся и радуемся произведенному ремонту! Пока!
Описание принципа работы
Стандартный сетевой фильтр пропускает электрический ток по кабелю от розетки к ряду электрических и электронных устройств, подключенных к устройству. Если напряжение от розетки поднимается выше допустимого уровня, то прибор бесперебойного питания отвлекает дополнительную электроэнергию от розетки в провод заземления.
Наиболее распространенный тип сетевого фильтра имеет компонент, называемый варистором, изготовленным из оксида металла, или MOV, который отводит дополнительное напряжение. MOV образует связь между фазовой линией электропередачи и линией заземления.
Непосредственно варистор состоит из трех частей: оксидо-металлическая деталь в середине кабеля подключения к линиям электропитания и заземления, которые изготовлены из двух полупроводников. Эти полупроводниковые приборы имеют переменное сопротивление, которое зависит от напряжения. Когда напряжение ниже определенного уровня, электроны в полупроводниках потока объединяются таким образом, чтобы создать очень высокое сопротивление. Если напряжение превышает этот уровень, электроны ведут себя иначе, создавая более низкое сопротивление. В том случае, если напряжение соответствует заданному разрешению, варистор ничего не делает.
Фото — Магистральный сетевой фильтр
Как только дополнительный ток отводится в фильтр и на заземление, напряжение в фазовой линии возвращается к нормальному уровню. Таким образом, сетевой фильтр Pilot (Пилот), Defender, прочие только отводят импульсный ток, позволяя при этом продолжать работать остальным устройствам, подключенным к проводнику в нормальном ритме. Другими словами, сетевые помехоподавляющие приспособления по принципу работы напоминают чувствительный к давлению клапан, который открывается только в том случае, когда поступает слишком много давления.

Фото — Профессиональная схема фильтра
Ремонт — что делать, если кнопка сетевого фильтра сломалась
Если при включении кнопки сетевого фильтра начинают раздаваться посторонние звуки, которые сопровождаются запахом плавящейся пластмассы, устройство следует сразу же обесточить. Далее нужно разобрать сетевой фильтр и проверить состояние контактов на выключателе.
Для этого понадобятся следующие инструменты:
- паяльник,
- крестовая отвертка,
- тестер,
- наждачка-нулевка.
Если контакты прогорели, то показания тестера это подтвердят (в данном случае напряжения на выходе с кнопки в положении «Вкл.» не будет). Чтобы почистить контакты, выключатель нужно:
- Разобрать корпус сетевого фильтра, открутив монтажные винты;
- Выпаять кнопку и извлечь из корпуса фильтра. Кнопку удерживают в корпусе пластмассовые зажимы, которые следует аккуратно отжать.
- Разобрать. Для этого нужно отсоединить клавишу, подцепив ее плоской отверткой.
- Достать контакты и очистить от черного нагара.
- Собрать кнопку. После этого кнопку собираем в обратной последовательности, устанавливаем на место и припаиваем.
Если контакты прогорели очень сильно и расплавили пластмассу корпуса выключателя, его следует полностью заменить.



Для этого нужно:
- Разобрать фильтр;
- Выпаять кнопку;
- Извлечь из корпуса выключатель;
- Установить на его место новый (продается в магазинах радиодеталей, стоит порядка 30 рублей);
- Припаять кнопку, собрать корпус фильтра.
Нередко кнопка на сетевом фильтре не работает по причине механических повреждений. Самый распространенный случай — поломка фиксаторов, которые удерживают клавишу выключателя в корпусе. В этом случае не обязательно покупать новую кнопку — фиксаторы можно восстановить.
Для этого понадобятся следующие материалы и инструменты:
- шуруповерт (или дрель) и сверло диаметром 3,5 мм;
- зубочистка;
- ватная палочка;
- бокорезы.
Сам процесс очень прост:
- В клавише просверливается сквозное отверстие, в которое вставляется ватная палочка (она будет выполнять роль фиксатора).
- Внутрь ватной палочки для большей жесткости вставляется зубочистка. С двух сторон импровизированный фиксатор подрезается бокорезами таким образом, чтобы с каждой стороны он выступал приблизительно на 3-4 мм.
- Теперь остается вставить клавишу в корпус — для этого достаточно слегка отогнуть бортики посадочного места отверткой.
ВИДЕО ИНСТРУКЦИЯ
2 простые схемы для повторения своими руками в двухпроводной сети
Основное преимущество этих конструкций состоит в том, что они занимают мало места. Все компоненты можно встроить внутрь корпуса обычного заводского удлинителя.
Схема LC-фильтра
Вначале показываю схему попроще, обеспечивающую вполне приемлемые результаты.
Токовый ключ SC обеспечивает защиту подключенных потребителей от перегрузок и токов коротких замыканий.
Высокоомный резистор на 1 мегаом практически никак не влияет на прохождение сигналов. Его роль — разряд конденсатора C при выключении питания для повышения безопасной эксплуатации.
Схема RLC-фильтра
Предыдущую конструкцию можно доработать добавкой низкоомных резисторов и изменением характеристик электронных компонентов.
Номиналы конденсаторов показаны на схемах. Их изоляция обкладок должна выдерживать рабочее напряжение сети, увеличенное импульсом помехи. Подбирайте их минимум на 300 вольт, а лучше — больше.
Обе схемы гасят входящие высокочастотные помехи индуктивными сопротивлениями дросселей и емкостными — конденсаторов. Ликвидация высоковольтных импульсов возложена на варистор.
Как правильно сделать выбор
Выбор сетевого фильтра, по мнению специалистов, надо начинать с внешнего осмотра. На нем должна быть обязательная кнопка, которая позволяет сделать сетевое отключение принудительно. Сетевой фильтр — устройство, в котором имеет значение количество гнезд питания электрооборудования, это зависит от производителя изделий, обычно один фильтр питает несколько приборов разной мощности.
Правильный выбор основывается на сопровождающих изделие документах, в них отражена вся необходимая для покупателя информация. В паспорте должны быть указаны все функции, которыми обладает фильтр от производителя
Обратите внимание на значение величины импульсной нагрузки, оно указывает на способность фильтра выдерживать ощутимые перепады напряжения в сети. Некоторые модели сетевых фильтров могут выдерживать влияние атмосферных разрядов на источник питания. Сетевые фильтры для офисов

Сетевые фильтры для офисов
Для бытовых потребителей электрической энергии предлагается стандартная длина шнура питания устройства — 1,8 м, но есть и другие варианты питающего фильтр кабеля — 5 м. Наличие разного количества предохранителей в устройстве (но не менее трех) должны гарантировать защиту от разного вида помех. Если на устройстве нет светодиодной кнопки, то это простой удлинитель.
Как выбрать сетевой фильтр для компьютера
Сейчас в каждой семье в городах есть компьютер, для них разработаны фильтры, которые выполняют защитную функцию компьютерного оборудования от перепадов напряжения и высоких частот в сети. Пользователи часто визуально могут спутать фильтр с другим устройством — ИБП, но фильтр функционально защищает ПК от перенапряжения, он не выполняет поддержку электроснабжения в случае отключения сети, как ИБП.

Сетевые фильтры для ПК
Сетевой фильтр нужен для обеспечения фильтрации сетевого напряжения для компьютера, он решает следующие задачи:
- контроль проходящих через него импульсов, которые могут вызвать автоматическую перезагрузку ПК без сохранения данных на мониторе;
- обеспечение сглаживания высокочастотных импульсов, которые возникают при одновременном включении мощных потребителей.
Специалисты для защиты собственной компьютерной техники рекомендуют изделие компании АРС, это устройство отлично подходит для домашнего применения, а также в небольших офисах.

Модель Surge Arrest Essential
Модель имеет пять розеток, считается недорогой. По основным параметрам характеристик устройство среднее. Рекомендуется подключать через этот фильтр телефонное оборудование, факс, ПК. Длина кабеля — 1,8 м.
Производители предлагают и более качественную защиту — это модель Pilot X-Pro, которая является более устойчивой к нагрузке при высокой частоте скачков напряжения. Фильтр этой модели по данным паспорта поглощает до 650 Дж, превращая их в энергию тепла.
Выбор фильтра для ЖК-телевизора
Защита домашнего кинотеатра, а также другой видеоаппаратуры выполняет сетевой фильтр для телевизора, который должен гарантировано защищать оборудование от помех и перепадов напряжений. Специальные фильтры для телевизоров имеют автоматическое отключение, когда происходит короткое замыкание в сети. Эксперты рекомендуют для этих целей модель фильтра APC PMF83VT-RS, который представлен на фото:

Вариация сетевого фильтра
Эта модель стоит около 3 тысяч рублей, имеет коаксиальный вход, индикатор, максимальный ток нагрузки до 10 ампер, мощность 2,3 кВт, напряжение 230 вольт, имеет 8 розеток с заземлением, длина кабеля — 200 см, расположение розеток двухстороннее, имеет защиту для телевизионного сигнала. Каждая розетка может быть принудительно включена или выключена, есть общий выключатель розеток. Какой выбрать сетевой фильтр — этот вопрос всегда стоит перед обывателем из-за стоимости устройств.
Есть более дешевый вариант фильтра для телевизора, который стоит 1 тысячу рублей, это MOST Elite ERG, на фото:

Сетевой фильтр с включением для каждой розетки
Параметры характеристик этого фильтра такие же, как в модели APC PMF83VT-RS, но он имеет всего пять розеток.
Разновидности фильтров
Специалисты различают сетевые фильтры по трем категориям, которые определяются по уровню их защиты, а именно:
- базовый вариант, эфирная защита — маркируется Essential, рекомендуется для домашнего оборудования: микроволновка, бытовое оборудование (пылесос, утюг, другие приборы);
- универсальный фильтр — маркировка в паспорте Home/Office, рекомендуется для компьютерного оборудования, современных ЖК-телевизоров;
- фильтр категории Performance, рекомендуется для работы с чувствительным к сетевому напряжению оборудованием, имеет достаточно высокую стоимость.
Самодельные сетевые фильтры
Нередко имеющиеся в продаже дешевые фильтры на самом деле фильтрами не являются. Например, фильтр-удлинитель (рис.9). Там внутри находится лишь варистор, ограничивающий кратковременные высоковольтные импульсы, которые иногда возникают в сети, и токовый размыкатель, срабатывающий при протекании большого тока (рис 10).

Рис. 9. Фильтр-удлинитель.

Рис. 10. Что внутри фильтра-удлиннителя.
На корпусе есть кнопка, которую нужно нажать, чтобы снова замкнуть размыкатель, если он сработал. Для превращения этого удлинителя в полноценный фильтр внутрь нужно встроить фильтрующие цепи.
На исходной схеме (рис.11а) S1 -токовый размыкатель, VR1 — варистор типа 471 (числом кодируется максимальное напряжение, а от диаметра зависит максимальная энергия подавляемого импульса).

Рис. 11. Схема фильтрующих цепей для встраивания в удлиннитель-розетку.
В доработанном варианте (рис. 11 б) добавляется RLC-фильтр. Катушки L1 и 12 вместе с конденсаторами С1 и С2 образуют LC-фильтр.
Индуктивное сопротивление катушек растет на высоких частотах. Чтобы ослабить и низкочастотные помехи, последовательно с катушками включены резисторы R1 и R2. Резистор R3 разряжает конденсаторы при отключении фильтра от сети. При сборке фильтра (рис. 12) варистор оставляется штатный (типа 471, диаметром 6…10 мм).
Чем больше сопротивление резисторов R1 и R2, тем лучше фильтрация, но больше их нагрев и потери напряжения в фильтре. Поэтому сопротивление резисторов выбирается в зависимости от суммарной мощности, потребляемой всеми теми устройствами, которые будут подключаться к фильтру (при указанных номиналах РНагр.макс=250 Вт).
Дроссели L1 и L2 — промышленные высокочастотные, типа ДМ-1 индуктивностью 50…100 мкГн. Конденсаторы — пленочные, типа К73-17 или аналогичные (импортные меньше по габаритам) емкостью не менее 0,22 мкФ (больше 1 мкФ тоже не нужно). Сопротивление резистора РЗ — не критично (от 510 кОм до 1,5 МОм).
Дополнительно на сетевой провод возле самого удлинителя желательно одеть ферритовую шайбу (удобнее всего разрезную на защелках — рис.13).

Рис. 12Сборка фильтра.

Рис. 13. Ферритовая шайба.
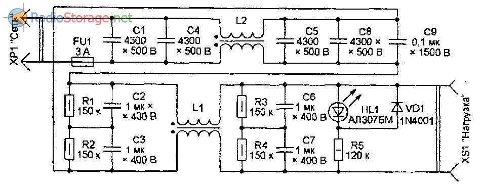
Другой вариант схемы помехоподавляющего сетевого фильтра приведен на рис. 14. Для большей эффективности он состоит из двух соединенных последовательно звеньев.
Первое (конденсаторы С1, С4, С5, С8, С9 и двухобмоточный дроссель 12) отвечает за подавление помех частотой выше 200 кГц.
Второе звено (двухобмоточный дроссель И с остальными конденсаторами) подавляет помехи, спектр которых простирается ниже указанной частоты (вплоть до единиц килогерц).

Рис. 14. Схема помехоподавляющего сетевого фильтра.
Благодаря магнитной связи между обмотками дросселей происходит подавление синфазных помех (тех, что наводятся одновременно на оба сетевых провода или излучаются ими).
Поэтому обмотки каждого дросселя должны быть одинаковыми и симметрично намотанными на магнитопроводы
Важно обеспечить правильную фазировку обмоток
Их начала обозначены на схеме точками. Дроссель L1 намотан на ферритовом магнитопроводе Ш12×14 с самодельным каркасом из злектрокартона сложенным вдвое проводом ПЭЛШО 00,63 мм. Обмотка содержит 87 витков. Марка феррита, к сожалению, неизвестна. Измеренная прибором 1.Р235 индуктивность каждой обмотки — около 20 мГн.
Для дросселя 1.2 использован броневой магнито-провод Б22 из феррита 2000НМ1. Его обмотки содержат по 25 витков и намотаны тем же проводом и таким же образом, что и обмотки дросселя L1. Индуктивность каждой обмотки дросселя L2 — 120 мкГн.
Конденсаторы первого звена фильтра — слюдяные. Поскольку малогабаритных конденсаторов такого типа требующейся для фильтра емкости на нужное напряжение не существует, пришлось соединить попарно-параллельно конденсаторы КСО-5 меньшей емкости.
Аналогичное решение, но с попарно-последовательным соединением конденсаторов С2, С3 и С6, С7 (пленочных зарубежного производства), принято и во втором звене фильтра для обеспечения нужного рабочего напряжения.
Подключенные параллельно конденсаторам резисторы R1…R4 выравнивают приложенные к ним напряжения и обеспечивают быструю разрядку всех конденсаторов после отключения фильтра от сети. Конденсатор С9 — типа К78-2. Плата фильтра помещена в заземленную металлическую коробку.
Материал подготовил В. Новиков. РМ-07-12, 08-12.
Источники информации:
- electroclub.info
- corumtrage.ru
- potrebitel.ru
Зачем нужен сетевой фильтр: краткое пояснение
Само название этой электронной схемы объясняет ее назначение. Слово «фильтр» указывает на отсеивание вредных помех, а «сетевой» — определяет их источник.
Другими словами, весь электрический мусор, поступающий из сети питания, отсеивается на входе нашего устройства и не влияет на качество работы бытового прибора. Основной же сигнал сети 220 вольт с частотой 50 герц беспрепятственно проходит через фильтр.
Электромагнитные помехи в сети появляются спонтанно, предугадать их появление невозможно. Даже простое включение лампы накаливания формирует начальный бросок тока, создающий зону переходных процессов.
Подключение электродвигателей холодильника, стиральной или посудомоечной машины связано с изменением индуктивного сопротивления. Ток такого включения может превышать в десятки и более раз номинальную величину нагрузки.
При этом в сети создается значительная «просадка» напряжения. А далее следует его всплеск, формирующий высоковольтные помехи.
Эти процессы протекают кратковременно. Во времена пользования аналоговой бытовой техникой они особого вреда не причиняли, а в аудио и видео аппаратуру встраивали простейшие фильтры, отлично выполняющие свои функции.
Они надежно сглаживали все эти быстрые провалы и пики напряжения своей конструкцией, предотвращая их попадание к чувствительной электронной схеме.
Важно понимать, что фильтр работает исключительно с кратковременными провалами и пиками входного сигнала. Если же подобный процесс немного затянется, то здесь нужно другое устройство — стабилизатор напряжения. Какой вред наносят электромагнитные помехи
Какой вред наносят электромагнитные помехи
- Напряжение кратковременных импульсов накладывается на основной сигнал питания сети 220. При этом в точке амплитуды может возникнуть перенапряжение, способное прожечь рабочий слой изоляции или повредить электронный компонент.
- Проникающие внутрь слаботочных цепей посторонние сигналы искажают работу звукозаписывающих или звуковоспроизводящих устройств, видеотехники, телеприемников, дорогой цифровой аппаратуры.
- Специальная техника позволяет через электромагнитные шумы, передающиеся по нулевому проводнику, проложенному вне квартиры, получать доступ к конфиденциальной информации.
Чтобы надежно бороться с помехами необходимо знать особенности своей бытовой сети.
Это интересно: Как сделать проектор своими руками в домашних условиях: излагаем обстоятельно





































